CSF Management - Desu

To maximise protection against infection from the use of shunts, catheters and drainage systems, Delta have partnered with Desu to offer a range of technologically advanced antibacterial-impregnated products, offered alongside standard systems.

To speak to one of our clinical product specialists or to order accessories and consumables, please call 01782 637009. Alternatively, send an email by clicking here and we will contact you within 24hrs.

p5b logo and pic

 

 

Antibiotic Silicone & Polysulphone Shunts​

DESU shunts are avalible with antibiotics in the silicone body of the valves, a unique quality in this market. Controlled release of impregnated antibiotics from the silicone body for a duration of 28 days helps to significantly lower any chance of infection.

None of the valves contain metal parts, which makes them suitable for use with MRI or CT scans. The radiopaque barium marks on the valves indicate pressure, flow direction and valve-to-catheter approximation.

P5b - pic 2

Defit Fixed Pressure Silicone Flat-Bottom Shunt KIts

 

Defit Shunt Series, incorporate silicone flat-bottom shunts engineered for precision, biocompatibility, and ease of implantation in the treatment of hydrocephalus and other disorders involving cerebrospinal fluid (CSF) accumulation.

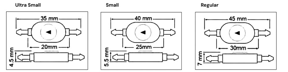
The Defit line is available in Ultra Small, Small, and Regular sizes, allowing for tailored treatment in both pediatric and adult patients. The range features standard and antibiotic impregnated varients of each size.

 

5b Desu shunts Defit line drawing and text 1

 

Silicone, being both inert and elastic, offers excellent long-term tolerance in the human body. It minimizes the risk of tissue irritation, mechanical fatigue, and chemical interaction with CSF. Combined with a flat-bottomed profile, this allows the shunt to sit smoothly beneath the skin with minimal bulk or pressure on surrounding tissues—an important advantage for both cosmetic and functional outcomes.

Each of the above can be ordered as part of a standard or semi antibiotic kit, a ready-to-use solution that includes all the essential components for complete CSF diversion surgery.

The standard configuration comprises:

Defit Valve: The core pressure-regulating unit available in Ultra Small or Small variants, constructed from high-grade silicone.

Ventricular Catheter: Internal diameter 1.3 mm, outer diameter 2.5 mm, length 23 cm. Designed for precise insertion into the lateral ventricle.

Peritoneal Catheter: Internal diameter 1.1 mm, outer diameter 2.5 mm, length 120 cm. Made from kink-resistant tubing, optimized for abdominal placement.

Stylet: To facilitate catheter positioning and tunnel creation.

Right-Angled Connector: For seamless connection between valve and catheter systems.

Optional ASD (Antisiphon Device): Protects against gravity-induced overdrainage.

Optional Reservoir: Flat-bottomed design allows for easy subcutaneous positioning and CSF sampling.

 

Decurve Fixed Pressure Silicone Burr-Hole Shunt & Kits ​

5b Desu Decurve top graphic and text

Decurve Shunt Series have a compact burr hole design that can simplify surgery, especially in cases where ventricular access is tight.

The Decure shunt is available in Paediatric and Adult sizes, allowing for tailored treatment in both pediatric and adult patients. The range features standard and antibiotic impregnated varients of each size.

 

5b Desu line drawing and text 2

 

Decurve shunts also come a part of a kit that includes all the essential components for complete CSF diversion surgery. They are available with different pressure settings — Low (L), Medium (M), and High (H) — and can be selected as either a valve shunt or shunt kit.

 

Depus Polysulphone Based Shunt System

Depus Shunts are available in both fixed-pressure and adjustable (programmable) configurations, constructed using medical-grade polysulfone, a thermoplastic polymer known for its biocompatibility, durability, and chemical resistance. Polysulfone’s transparency is also a significant advantage, as it enables visual inspection during surgery and follow-up. Unlike other materials that may degrade over time, polysulfone maintains its shape and performance inside the body for years. This translates to fewer revisions, greater reliability, and increased patient safety. The mechanism inside the shunt is triggered by positive ventricular pressure and the valve opens automatically. The ruby ball and titanium spring parts in the system are the main components of this system, which works with the hydrodynamic leverage method.

Depus Shunts can be supplied in three different kits; Ventriculoperitoneal, Lumboperitoneal and adjustable Ventriculoperitoneal. Each of these can also be supplied in a semi antibiotic format.

 

5b Desu depus main graphic

 

Depus Adjustment Kit

The adjustment Kit is used to adjust the pressure of Adjustable Depus Shunts to different pressure levels, low, medium or high.​

5b Desu adjustment graphic

 

 

 

Antibiotic Silicon Catheters

p5b - Anti Bacterial Silicon Catheters

All DESU catheters are manufactured with barium-impregnated silicone raw material to allow radiopacity. In addition, tantalum is used to mark length measurements which allows visibility during magnetic resonance imaging.
Antibiotic-impregnated catheters are manufactured using long-term implantable grade silicone tubing. These catheters, which are impregnated with Rifampicin and Clindamycin HCl, are shown to decrease gram-positive bacteria colonisation.

A range of Desu catheters are available:

  • Ventricular catheter
  • Peritoneal catheter
  • Ventriculoperitoneal catheter
  • External ventricular drainage catheter
  • External lumbar catheter
  • Lumbar catheter

 

 

P5b Desu

 

Visit the Delta Resource Centre, where you can read & download more product details plus related information, (including clinical case studies where available).​

To speak to one of our Desu specialists about any of the above products, or to order accessories and consumables, please call 01782 637009. Alternatively, email by clicking here and we will contact you within 24hrs.​

 

This site uses cookies. By continuing your visit, you accept their use as set out in our Cookie Policy. OK